Many developers are trying their hand at replicating different experiences in the virtual space, from flight to weapon simulations and more. The controllers for the major VR headsets do a solid job of immersing us in games centered on the latter, but it looks like there are even better options on the horizon. CLAZER, developed by Lead Tech, is a shooting sim and the company has a patent that allows VR players to use their own real guns for the simulation. We contacted Chip Northrup, founding manager of Lead Tech, to find out more about the program and patent.
CLAZER provides players with a virtual space to practice shooting skeet, trap, and sporting clays. It is said to feature elements that train shooters to correctly track the trajectory of the clay, but the big idea from the company is the trigger actuator that can be attached to your own guns and, in theory, be paired with a service like Steam for VR gameplay.
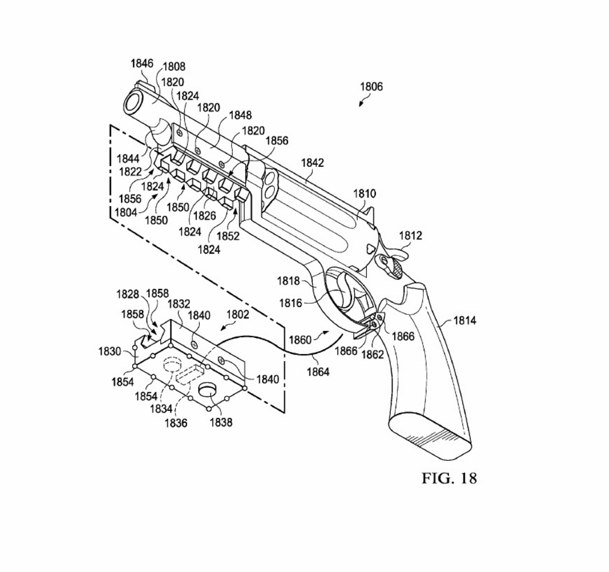
“Two patents have already been granted for a total of 54 claims, that cover the Phantom Clay – the ghost clay that shows where the lead is – the ballistic intercept point of the shot and the clay pigeon,” says Northrup. “A third patent is pending that covers the VR gun controller mounted on a real gun.”
The portion mounted on a real gun is said to be a light addition that is still being developed, so the way it attaches could change. The team is attempting to find a solution that works for many different guns.
Experiences like CLAZER blur the lines between virtual spaces and real life. When it comes to video games, skills gained through gameplay only translate to a certain point when you switch to real life. But a form of input in VR that allows you to actually use weapons from the real world? That could have lasting implications.
“Until now, no video games taught how to lead a moving target and all moving targets require lead,” Northrup said. “Clazer could literally save lives in the military.”
CLAZER can be played on HTC Vive, Oculus Rift, and Samsung Gear in various locations around the world and you can find links to maps and more information on where to play here. Those wanting to beta test the gun controller can find more information here.
